韩国毛片免费大片-韩国毛片免费-韩国毛片基地-韩国毛片 免费-韩国毛片-韩国妈妈的朋友在线播放

叉車系列科力KLD10D型 步行式全電動堆高車(1T)_堆高車_叉車系列_產品中心_廈門永新昌機械設備有限公司
科力KLD10D型 步行式全電動堆高車(1T)

科力KLD10D型 步行式全電動堆高車(1T)_堆高車_叉車系列_產品中心_廈門永新昌機械設備有限公司

當前分類:叉車系列關鍵詞
產品信息

電動升降,前進后退電動行走,駕駛人員步行手把操作

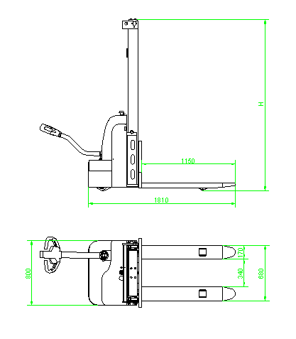
KLD10D型\15D型步行式電動托盤堆垛車 
Model(型號)KLD10DKLD15D
特性驅動Driver 電動電動
操縱形式Operatortype 步行式步行式
負載能力Loadcapacity/ratedloadkg10001500
載荷中心距Loadcentermm600600
軸距Wheelbasemm14601460
總重(含電池)Serviceweightincludingbatterykg680780
輪系車輪Drive/castor/forkwheel 聚氨酯聚氨酯
承載輪尺寸Wheelsize,frontmmΦ85x70Φ85x70
驅動輪尺寸Wheelsize,drivermmΦ250x80Φ250x80
附輪尺寸Additionalwheels(dimensions)mmΦ130x55Φ130x55
前/后輪數量(x=驅動輪)Wheels,numberfront/rear(x=drivenwheels) 1x+2/11x+2/1
    
前輪距Trackwidth,frontmm510510
后輪距Trackwidth,rearmm490490
尺寸全長Overalllengthmm18001800
總寬Overallwidthmm850850
貨叉起升高度Forkheightmm1600/2500/3000
作業時門架最大高度Maxheightmm2165/3010/3510
門架縮回時最低高度Minheightmm2120/1835/2085
操縱手柄高度(最大/最小)Heightoftillerindrivepositionmm1480/7301480/730
貨叉尺寸厚度/寬度/長度Forkdimensionss/e/lmm65/170/115065/170/1150
貨叉外邊距Widthoverforksmm680680
最小轉彎半徑Minimumturingradiusmm14301430
最小離地間隙GroundClearancemm2929
最小轉彎通道寬度理論值Minintersectingaislewidthmm21402140
速度(負載/無負載)行駛速度Travelspeed,with/withoutloadkm/h4212942129
(負載/無負載)起升速度Liftspeed,with/withoutloadmm/s135/140135/140
(負載/無負載)下降速度Liftspeed,with/withoutloadmm/s155/150155/150
動力(負載/無負載)最大爬坡能力Max.gradeability,with/withoutload%5\75\7
行車制動Servicebrake 電磁制動電磁制動
行走電機功率DrivermotorkW0.75/DC1.2/DC
起升電機功率LiftmotorratingatS315%kW2.2/DC2.2/DC
電池容量Batteryvoltage/nominalcapacityK5V/Ah24/10024/100
電池重量Batteryweightkg6060
控制方式控制器型號Typeofdrivecontrol科蒂斯CURTISCURTIS