韩国毛片免费大片-韩国毛片免费-韩国毛片基地-韩国毛片 免费-韩国毛片-韩国妈妈的朋友在线播放

叉車系列卡斯卡特通用夾類(Clamps)傾翻式非側移式桶夾_叉車屬具_叉車系列_產品中心_廈門永新昌機械設備有限公司
卡斯卡特通用夾類(Clamps)傾翻式非側移式桶夾

卡斯卡特通用夾類(Clamps)傾翻式非側移式桶夾_叉車屬具_叉車系列_產品中心_廈門永新昌機械設備有限公司

當前分類:叉車系列關鍵詞
產品信息

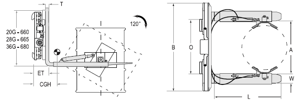
廣泛應用于石油、化工等行業對55加侖(205公升)標準桶的搬運,使叉車可一次安全穩固的夾持與搬運4個油桶,分為:基本式、側移式、旋轉式。

Capacity 承載能力(kg)Catalog Order NO 型號Mounting Class 安裝等級 Capacity Load Center on forks承載能力@貨叉載荷中心(kg@mm)Frame Width 框架寬度B(mm)Opening Range張臂范圍A(mm)Fork Size貨叉尺寸LxWxT(mm)Minimum Truck Carriage Width叉車貨叉架寬度最小值O(mm)Weight 自重(kg)Effective 失載距ET(mm) Horizontal Center of Gravity 水平重心CGH(mm)
500 20D-DUB-A112 ISO 2A1400@500850340-13551000*100x35835 310 144 265
600 28G-DUB-A112 ISO 2A1900@500950340-15301000*100x40835 363 175 257
700 36G-DUB-A112 ISO 2A2200@5001050340-14601000*125x40835 447 184 281
注:
1、實際的叉車/屬具綜合承載能力請從叉車廠方獲得。
2、DUB是基本型產品,要求叉車需增加2組附加油路。
3、可提供相應的側移式產品。
以上所列出的各種型號是卡斯卡特常見的產品類型,可根據特殊工況的要求,提供其他相應合適的產品型號,具體請與我們聯系。